新华社北京1月30日电(中国证券报记者王宇露 张舒琳)王思聪又一次霸占热搜,这次是因为上海破产法庭“官宣”的一笔拍卖。
1月28日,上海破产法庭召开线上新闻发布会,通报2020年度案件办理情况,其中一个典型案例就是王思聪旗下的上海熊猫互娱文化有限公司(下称熊猫互娱),近9000件库存货品网拍3103.89万元,溢价率高达991%。
一款礼盒卖出5289元
阿里拍卖网显示,一笔拍卖引来16072次围观,不过参与竞拍的仅有2人,竞拍次数却有823次,从10月14日晚6点多持续到次日晚8点半。这笔资产评估价为352.48万元,起拍价为284.50万元,最终拍卖价高达3103.89万元,溢价率高达991%。
什么资产的溢价率这么高?
上海市第三中级人民法院发布的公告显示,本次拍卖标的为上海熊猫互娱文化有限公司名下的部分知识产权及剩余存货整体打包拍卖。分别为:222项注册商标及部分商标申请权、11件美术作品、6项类似摄制电影方法创作作品、11项软件著作权、19个域名、硬盘及源代码、9000余件存货商品。
其中,部分存货为熊猫TV绝版周边,包括2509个帆布袋、1134个马克杯、3206个手机壳等共计9062件周边,估值12.56万元。
早在2020年6月,熊猫互娱就对其周边产品进行过一次拍卖,主要标的为周边礼盒、福袋、马克杯、手机壳等。这些限量款周边受到热捧,最后也是高溢价率拍出。其中,一款礼盒起拍价为500元,最终成交价5289元,溢价率达958%;一个起拍价150元的福袋卖出2020元,溢价率1246.67%。

图片来源:阿里拍卖网
天眼查数据显示,熊猫互娱成立于2015年7月,其运营的直播平台熊猫直播曾占尽风头。作为王思聪旗下电竞事业的重要部分,王思聪对熊猫直播花费大量心血,斥巨资挖来PDD等王牌主播,请来了林俊杰、鹿晗、Angelababy等人气明星站台,其本人还多次在微博上为熊猫直播造势。因有王思聪作背书,且投资方持续“烧钱”,熊猫直播红极一时。
不过,2019年3月,熊猫直播因资金紧张关闭,引发与投资者和旗下主播的债务纠纷,导致王思聪多次被上海市宝山区人民法院列为被执行人,限制高消费。2020年1月份,熊猫互娱进入实际破产清算程序。
尽管熊猫互娱创业投资失败,网友却“酸”了:“这下好了,只能回去继承亿万家产了,可怜。”
天眼查显示,就在不久前的1月14日,万达产业投资有限公司成立,注册资本1亿元人民币,法定代表人王健林,持有98%股份,王思聪为董事,持有2%股份。
普思资本被拖累 股权曾多次遭冻结
2009年,王思聪创办北京普思投资有限公司(以下简称“普思资本”),据普思资本发布的公告,投资熊猫互娱损失近20亿元,这笔巨额亏损由普思资本及实控人王思聪自己承担。
普思资本的英文名“Prometheus”来源于希腊语,意思是“深谋远虑”。据其官网披露,普思资本是专注于投资互联网、科技、消费领域早期和成长期机会的投资机构,共管理4期人民币和美元基金,累计管理资产规模超过10亿美元。旗下的基金投资过近80个优质项目,包括美团、得物、闪送、摩天轮、海豚家、乐乐茶、Palantir、Magic Leap、Gusto、紫晶存储等。截至2020年6月,基金已完成超过30个项目的退出。普思资本早年投资的紫晶存储在2020年2月登陆科创板,目前总市值近70亿元。普思资产管理持股比例为3.7%,在公司前十大股东之列。
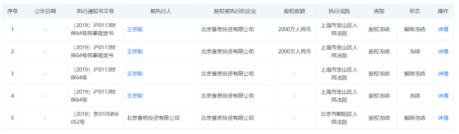
2019年以来,熊猫直播背后主体公司熊猫互娱被法院列为失信被执行企业,王思聪被法院列为被执行人,被限制高消费,名下房产、汽车、存款被查封,且名下多家公司股权被冻结。
天眼查数据显示,普思资本曾多次被法院执行股权冻结,王思聪被列为被执行人。

图片来源:天眼查



