图集

新华网8月15日电 据美国科技博客Gizmodo报道, 假设鼠标可以像游戏控制器一样在你操纵电脑时给予反馈,是不是很酷呢?苹果公司就是这么想的,在其最新通过的专利中就有这样一款可以对你的指令做出反应的鼠标。
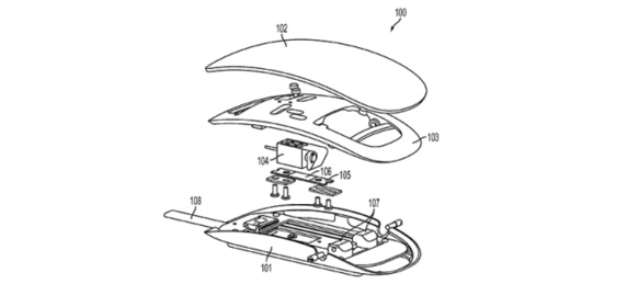
这款“力传式鼠标”里的感应器可以监测到施加于按钮上外力的力道和位置,并通过集成触觉系统来提供反馈。
这项专利建议安装一个压力传感器,测量使用者所施加的外力,电磁体或者振动电机可用来提供触觉反馈。无论最终结果怎样,这项专利都带来一种更加新奇微妙的鼠标类型。苹果公司的内部人士解释说:
在实际操作中,当使用者将光标移动到图标上时,按压以激发预先设置好的反馈力。第二层次的压力则可以实现一项指令,例如打开一个应用或文件夹时,当然,这需要鼠标更强烈的振动反馈。这样,使用者就可以通过一次点击实现特定功能的导引、选择和激活,并获得反馈。
很明显,我们并不确定苹果公司是否会将这款鼠标投入生产,随着触屏技术的不断普及,鼠标创新似乎成为一项濒临灭绝的艺术。但对于那些仍习惯于使用鼠标的人来说,这项技术仍是有前景的吧。
译者:王俊景
百度新闻与新华网国际频道合作稿件,转载请注明出处。
新闻评论
加载更多
-
大数据"坑熟客",技术之罪需规则规避
2018-03-02 08:58:39
-
高质量发展,怎么消除“游离感”?
2018-03-02 08:58:39
-
学校只剩一名学生,她却坚守了18年
2018-03-01 14:40:53
-
有重大变动!骑共享单车的一定要注意了
2018-03-01 14:40:53
-
2018年,楼市会有哪些新变化?
2018-03-01 09:01:20
热帖
热词